
-
Used For
-
Used On
-
Also Called
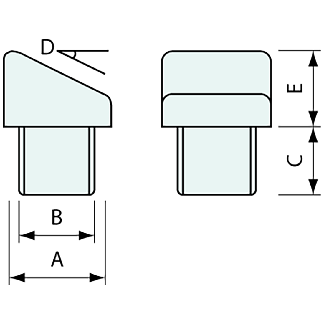
Angle Plugs Variations
Selected product
Code: 709
Angle Plug Black 25mm 60deg
Regular price
$2.81
Regular price
Sale price
$2.81
Unit price
per
