
-
Used For
-
Used On
-
Also Called
Tube Cups For Telescoping Tube Variations
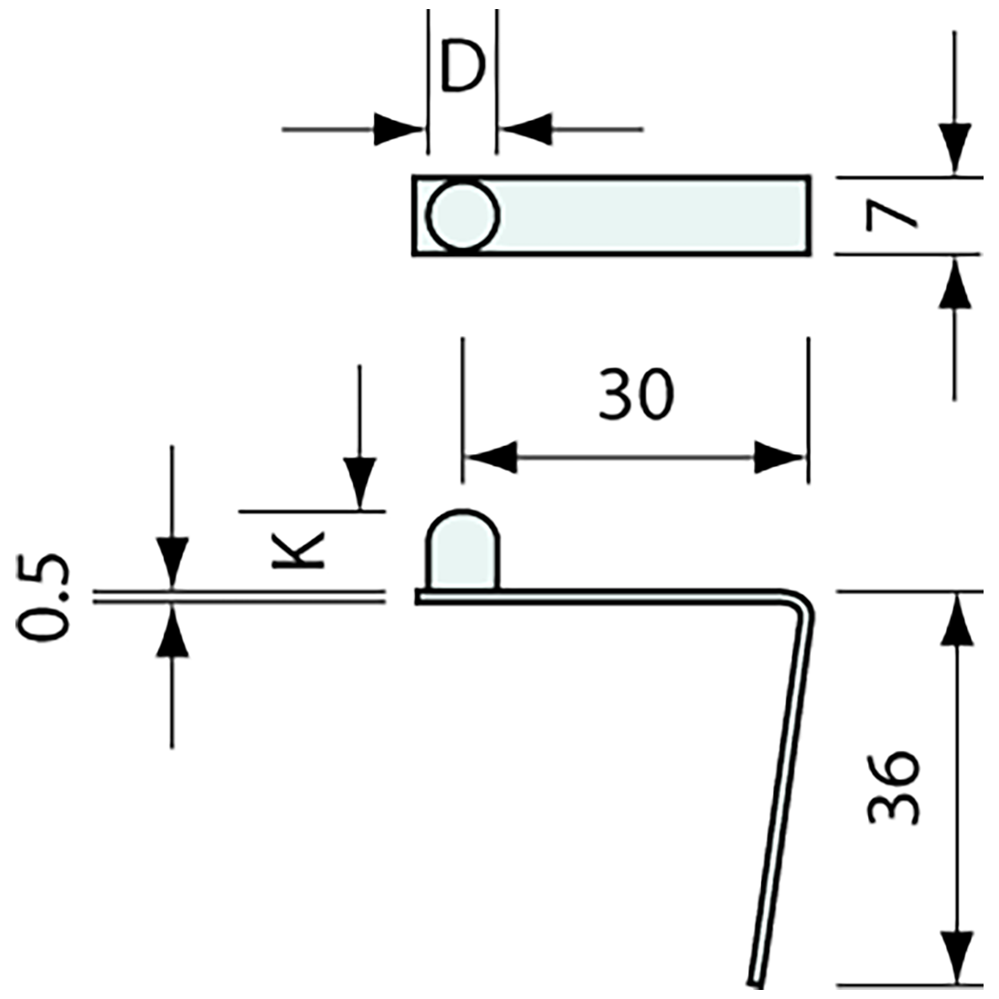
Selected product
Code: 179
Tube Cup Spring Stainless Steel Cap 6mm
Regular price
$6.36
Regular price
Sale price
$6.36
Unit price
per
